場效應管知識-場效應管使用安裝及拆卸注意事項-KIA MOS管
信息來源:本站 日期:2020-10-15
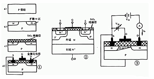
MOS場效應管在開關電路的作用是信號的轉換、控制電路的通斷。金屬氧化物半導體場效應(MOS)晶體管可分為N溝道與P溝道兩大類。MOS場效應晶體管具有很高的輸入阻抗,在電路中便于直接耦合,容易制成規模大的集成電路 。
MOS場效應晶體管在使用時應注意分類,不能隨意互換。MOS場效應晶體管由于輸入阻抗高(包括MOS集成電路)極易被靜電擊穿,使用時應注意以下規則:
(1)MOS器件出廠時通常裝在黑色的導電泡沫塑料袋中,切勿自行隨便拿個塑料袋裝。也可用細銅線把各個引腳連接在一起,或用錫紙包裝。
(2)由于MOS場效應管柵極絕緣層很薄,柵漏電容較小。有U=Q/C,所以靜電和感應電壓成正比。人體靜電電壓就極易對管子的柵極造成損壞。所以不要人體直接觸碰管子柵極。
(3)由于干燥易產生靜電,應在安裝和更換場效應管前,洗洗手,以消除靜電。
(4)取出的MOS器件不能在塑料板上滑動,應用金屬盤來盛放待用器件。
(5)焊接用的電烙鐵必須良好接地。
(6)在焊接前應把電路板的電源線與地線短接,再MOS器件焊接完成后在分開。
(7)MOS器件各引腳的焊接順序是漏極、源極、柵極。拆機時順序相反。
(8)電路板在裝機之前,要用接地的線夾子去碰一下機器的各接線端子,再把電路板接上去。
(9)MOS場效應晶體管的柵極在允許條件下,最好接入保護二極管。在檢修電路時應注意查證原有的保護二極管是否損壞。
(1)先把功放模塊安裝場效應管的位置進行清理,焊掉有影響的微帶電容,電感,漏極供電電感,把柵.漏極焊接處的焊錫清理干凈,把底座用酒精清洗。
(2)給MOS場效應管的底座均勻涂薄薄一層導熱硅脂,保證管子和底座良好接觸導熱。
(3)裝好管子,擰好固定螺絲和散熱器,用硬物按壓,使柵極.漏極都緊壓在焊接處。
(4)用60W接地烙鐵,拔掉電源。用好的焊錫絲,快速對柵極,漏極進行焊接。焊錫不宜太多和太少,焊錫多了散熱太快,太少了焊接不牢。注意不要直接用手拿焊錫焊接,用絕緣鑷子或尖嘴鉗夾著焊錫焊接。烙鐵功率不宜太小,不宜過大。太小溫度不夠,太大也易燙壞管子。焊接時間要短,焊接時間長容易燙壞管子,可分多次焊接。
(5)焊接好管子后,逐個焊接好諧振電容,諧振電感,最后焊接漏極供電電感。
(1)MOS管拆裝需要注意哪些方面?風槍溫度調試,把風槍調到320度,風速1檔。MOS管屬于小型玻璃管,容易夾裂,所以在拆的時候一定要小心,撬的時候用力一定輕,要顧及周圍的元器件不能碰到,如果有帶膠的芯片需要避開,吹的過程中風槍不能停留太久。
(2)撬MOS管的時候要用鋒利一點的刀片,把刀片放在MOS管下面,用手指往上帶一點力度,風槍一直對著吹,待錫剛融化時MOS管會自然脫落。
(3)MOS管屬于帶膠芯片,撬下來時需要對主板進行除膠,除膠的時候要小心不能太大力度,不然會掉點。除膠用鑷子尖去輕輕刮就好了,或者用斜口刀進行刮膠,把主板焊盤上所有的膠都清理干凈。
(4)放少量焊油用烙鐵把焊盤拖均勻,不能有明顯的高低不平,用洗板水把焊盤清洗干凈;
(5)芯片除膠,小芯片用烙鐵尖刮膠就可以了。
(6)MOS拆下來也是需要植錫的,用紙巾把刮錫刀上面的錫膏多余的焊油吸干(盡量干一點),把植錫網洗干凈(每個小孔都不能有異物),把MOS管鋪在一塊紙巾上面,用植錫網對準,往上面涂錫膏,抹均勻干凈以后用無塵布來回擦一擦。把風槍調到280°,風速全部關掉,風槍口從遠到進慢慢在植錫網上移動。植好錫以后取下時要小心,用鑷子在錫珠處輕輕從上往下頂,取下時放少量焊油,用風槍吹待錫珠全部歸位。
(7)裝MOS管是有腳位的,在MOS管的背面都有一個小點,稱為第一腳,在拆下時是需要看方向的,如果忘記了該怎么辦,找一個板來對比,沒有板在圖紙或者位號圖里面查找方向。
(8)把焊盤放少量焊油,焊油太多會移位,把MOS管用鑷子夾到需要焊接的主板上,方向擺好,風槍溫度同樣是320度,風速1檔,對準MOS管吹焊時間在15秒,待錫珠融化后用鑷子輕輕觸碰,MOS管會自動復位就說明已經焊好。
(9)待主板冷了以后用洗板水把主板清洗干凈。
聯系方式:鄒先生
聯系電話:0755-83888366-8022
手機:18123972950
QQ:2880195519
聯系地址:深圳市福田區車公廟天安數碼城天吉大廈CD座5C1
請搜微信公眾號:“KIA半導體”或掃一掃下圖“關注”官方微信公眾號
請“關注”官方微信公眾號:提供 MOS管 技術幫助

